基于容联云通讯、云片在UCenter、ShopNC中实现手机号码的国际化支持
1、平台 – 设置 – 邮件设置 – 消息模板,让模板内容支持繁体实现(mail_msg_temlates:邮件模板 添加模板ID字段(APP云通讯短信模板):temp_id_app 添加繁体字段(短信繁体模板内容(云片短信模板)):content_zh_tw),如图1:
2、新增邮件模板功能的实现,如图2;
3、邮件模板数据,如图3、4、5:
(1)医管通手机注册:96255(医管通) 93122(医管通APP)
【医管通】您正在注册医管通帐号,验证码{1},请在{2}分钟内按页面提示提交验证码。 注:云通讯短信模板
【医管通】您正在註冊醫管通帳號,驗證碼#code#,請在#minute#分鐘內按頁面提示提交驗證碼。 注:云片短信模板
【{$site_name}】您正在注册医管通帐号,验证码{$verify_code},请在{$minute}分钟内按页面提示提交验证码。 注:数据库中模板内容
【{$site_name}】您正在註冊醫管通帳號,驗證碼{$verify_code},請在{$minute}分鐘內按頁面提示提交驗證碼。 注:数据库中短信繁体模板内容(云片短信模板)
4、平台 – 设置 – 地区设置,编辑地区,可编辑国际地区号码前缀(area:地区表增加字段国际地区号码前缀:area_mobile),如图5:
中国大陆 +86 0
台湾 +886 32
阿里云
ALTER TABLE `trade_area` ADD COLUMN `area_mobile` varchar(5) CHARACTER SET utf8 COLLATE utf8_general_ci NOT NULL COMMENT ‘国际地区号码前缀’ AFTER `area_region`;
5、trade.service.ygt.cm,实现获取国际地区名称与号码前缀列表、基于地区ID获取国际地区名称与号码前缀
http://trade.service.ygt.cm/area/get-area-mobile
http://trade.service.ygt.cm/area/get-area-mobile?area_id=32
6、UCenter中实现可编辑用户mobile与area_id,如图6:
(1)用户表中增加国际地区ID字段:area_id,mobile与area_id组合在一起具备唯一性
ALTER TABLE `kcuc_members` ADD `area_id` INT(11) UNSIGNED NOT NULL DEFAULT ‘0’ COMMENT ‘国家区号ID’ AFTER `mobile`;
(2)http://kcuc.ygt.cm/ 通行证后台,添加、编辑用户Mobile,支持国际地区名称与号码前缀列表的选择
用户管理 – 添加用户、编辑用户
(3)用户管理基于用户ID倒序排列
(4)用户管理 – 搜索用户,支持国家区号的选择
7、UCenter的客户端中用户接口实现可显示、编辑用户mobile与area_id,如图7:
(1)检查 Mobile 地址(uc_user_checkmobile)
(2)用户注册(uc_user_register),手机支持国家区号的选择
(3)获取用户数据(uc_get_user)
(4)更新用户资料 基于用户ID(uc_user_uidedit),手机支持国家区号的选择
(5)API接口更新用户资料,手机支持国家区号
(6)商业系统 – 后台 – 平台 – 会员 – 会员管理 – 会员管理、新增、编辑会员
ALTER TABLE `trade_member` ADD `member_area_mobile` INT(11) UNSIGNED NOT NULL DEFAULT ‘0’ COMMENT ‘国家区号ID’ AFTER `member_email_bind`;
(7)商业系统 – 后台 – 商城 – 会员 – 会员管理 – 新增、编辑会员
8、手机注册,手机支持国家区号的选择
(1)手机短信记录表中增加国际地区ID字段:log_area_mobile,log_area_mobile与log_phone组合在一起具备唯一性,如图8:
ALTER TABLE `trade_sms_log` ADD `log_area_mobile` INT(11) UNSIGNED NOT NULL DEFAULT ‘0’ COMMENT ‘国家区号ID’ AFTER `log_id`;
(2)发送短信支持中国大陆与台湾(分别基于云通讯与云片),如图9、10、11:
(3)手机注册的实现,支持国际化
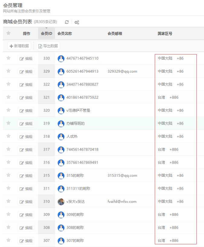
9、ShopNC后台的会员列表,如图17:

















近期评论